前言
这个不是美化插件,没有任何美化功能,宗旨是减量优化、辅助增益!
此插件也只适用于配合子比主题使用
我自己用了这个插件后,后台只用到Google XML 地图插件,这个插件用的瞒久的了,我的文章数量很多,就不轻易动它了,然后就一个Object Cache插件,我的小站没有CDN加速,没有动静态分离,现在基本保持在 数据库查询:6次 | 页面生成耗时:111.297ms 达到了历史最快😂
建议大家不要搞一些花里胡哨的美化,对于网站用户来说打开的速度才是最关键的
介绍
这是一款专为 WordPress 及 Zibll 子比主题打造的全能型增强插件。它集成了 AI 智能创作、SEO 深度优化、系统安全加固、性能加速以及用户管理等 40 多项实用功能。无需安装繁杂的多个插件,一个工具箱即可满足站点运营的绝大部分需求,帮助站长降低维护成本,提升网站收录与用户体验。
(2026.01.19 新增内容和优化)
新增木马扫描功能

新增百度推送功能,和原来的Bing推送合并

丰富了下仪盘表
优化内容
优化了插件后台显式强制指定权限,防止在某些服务器环境下可能插件会失效或产生冲突的问题。
(2026.01.15 新增内容和优化)
新增“VIP免费资源开启评论的功能”
全局模式,指定文章模式,发布时间开启模式
三种前台效果
设置页面

三种效果



优化内容
搜索评率优化,之前设定后,搜索出内容后切换下一页也会触发限制,现在搜索后切换下一页不受限制
(2025.12.20 新增内容和优化)
优化:
继续倒腾了下消息群发的UI,主要在发送记录里,限时了默认只显示四条,然后以加载的形式查看更多内容,现在看起来更佳的整洁

新增
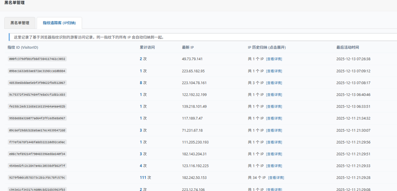
1,游客限制
我主要是限制那些长期不注册白嫖的人,这个限时不是基于IP判断的,是针对设备指纹的,记录下这个人的设备ID,触发你设置的限制条件就封锁,不管他如何换IP,只要检查到时同一个设备就默认是同一个人



3,在数据优化的功能里增加了一个“链接预取”的功能开关,鼠标悬停时预加载链接,利用浏览器空闲时间预加载用户即将点击的页面,实现感官上的“秒开”。

(2025.12.10 新增内容和优化)
优化:
1,消息群发里的VIP 开通自动发送里的变量优化了下,显示的更加精准
新增:
1,安全增强里增加“评论内容过滤”功能

2,增加代码片段功能
增加这个功能的目的是为了可以写入functions.php 相关的代码片段,下次更新主题的时候就不怕代码丢失或者重新填入了

3,增加AI智能助手
AI时代怎么能少了AI助手呢,这个主要针对DeepSeek来开发的,因为便宜,但你也以自定义其他接口


其他功能预览
仪盘表
显示一些简单的信息

简繁体转换 & 搜索增强
这个功能是基于wp-chinese-conversion这个插件来修改的,这个插件很多年没更新了,重新装修了一下,适应PHP8.0以上
模糊匹配可以选择推荐的那项更精准

维护模式
内置三种风格选项,不喜欢自己改代码

分类权限
可以限制普通用户和游客限制访问哪些分类和文章
效果自行测试

消息群发
可手动发送,可以单独给普通用户发送信息,支持混合发送
还有个自动发送,当有人开通会员,自动发送一条信息,可以自定义模板

用户清理
支持批量筛选,支持条件筛选,清理僵尸号,筛选出来的可以单独删除

媒体优化清理
主要功能就是清理没有被引用的图片、音频、视频,但有时候会误判,所以在扫描出来后自己检查一遍有没有误判的可以单独移除掉那个文件,其他文件就批量删除!支持范围扫描(其实我感觉它误判的有很多,我就把几年前的清清,反正老的清掉就清掉了,我无所谓了,总比我一个一个去删好太多🤣)

安全增强
里面大部分参考了WpJam的一些功能,也有特色功能
账号风控:稍微有效防止一号多用
评论频率分级控制,此功能低于主题的评论次数设定,如果想要这个功能生效,主题设定里的防刷机制要设置为0

其他功能
这个其他里面就比较杂,大概列出来几个比较有意思的
防红拦截和别名优化
别名优化就是写文章的时候把中文字自动转换成拼音或者英文
可以去百度翻译、小牛翻译申请个免费API,百度好像每个月5万个字符,小牛比较多一些,对于标题转换绰绰有余了
申请API很简单,我就不介绍了,可以AI问一问
申请不到也可以用默认的
*注意:此功能稍微拖慢了下发帖速度,我用了一段时间可以接受

会员到期通知
此功能是我唯一没有测试过的,不知道有没有用

私信权限控制 和 头像封面上传等级禁止
对于我来说还是有用的,因为我是个资源站,之前开放私信,有的人就是老是私信别人要资源

三元劳务费,源码无加密!不包售后
下载地址










